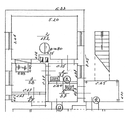
Pārdod nekustamo īpašumu – dzīvokli Policijas ielā 4-3, Kuldīgā
Kuldīgas novada pašvaldība saskaņā ar Publiskas personas mantas atsavināšanas likumu pārdod atkārtotā elektroniskā izsolē ar augšupejošu soli
Kuldīgas novada pašvaldībai piederošo nekustamo īpašumu Policijas ielā 4-3, Kuldīgā, Kuldīgas novadā (kadastra Nr. 62019003518). Nekustamā īpašuma atsavināšanas nosacījumi pieejami izsoles noteikumos.
Nosacītā cena: 10900 EUR, drošības nauda: 1090 EUR, izsoles solis 100 EUR.
Izsole sākas elektronisko izsoļu vietnē https://izsoles.ta.gov.lv 2026. gada 10. februārī plkst. 13:00 un noslēdzas 2026. gada 12. martā plkst. 13:00.
Personai, kura vēlas piedalīties izsolē, līdz 2026. gada 2. martam plkst. 23:59, jāiemaksā Kuldīgas novada pašvaldības pamatbudžeta kontā: Kuldīgas novada pašvaldība, reģistrācijas Nr. 90000035590, SEB banka, kods UNLALV2X, konts LV26UNLA0011001130401, norādot: “Policijas ielā 4-3, izsole” nodrošinājums 10% apmēra no izsolāmā objekta nosacītās cenas un, izmantojot elektronisko izsoļu vietni, jānosūta lūgums izsoles rīkotājam autorizēt to dalībai izsolē.
Samaksa par pirkumu – pēc izsoles organizētāja noteiktā paziņojuma saņemšanas dienas par pirkuma maksu ieskaitot: 2 (divu) nedēļu laikā visu nosolīto cenu.
Paziņojums par izsoli ir jāpublicē elektronisko izsoļu vietnē https://izsoles.ta.gov.lv, Latvijas Republikas oficiālajā izdevumā “Latvijas Vēstnesis”, Kuldīgas novada pašvaldības informatīvajā izdevumā “Kuldīgas Novada Vēstis”, pašvaldības interneta mājaslapā www.kuldigasnovads.lv, izliekams labi redzamā vietā pie attiecīgā nekustamā īpašuma.
Izsoles noteikumus un informāciju par nekustamo īpašumu var saņemt Kuldīgas novada pašvaldības informācijas centrā Baznīcas ielā 1, Kuldīgā, Kuldīgas novadā, pa tālruni 63350143 vai pa e-pastu dome@kuldiga.lv.